back to top
Patreon
Telegram
Twitter
VKontakte
Youtube
Новости
Статьи
Темы
Дополненная реальность
Виртуальная реальность
Устройства
Софт
Разработка
Off topic
Игры
Видео / Аудио
Государство
Обучение и образование
Промышленность и производство
Бизнес
Медицина и здравоохранение
Инвестиции
Армия
Транспорт
Реклама
Работа
Как разместить вакансию/резюме
О сайте
Корпоративные закупки
Поиск
City
news
Войти в систему
Добро пожаловать! Войдите в свою учётную запись
Имя пользователя
Пароль
Забыли свой пароль? Получите помощь
Политика конфиденциальности
Восстановление пароля
Восстановите свой пароль
Ваш адрес электронной почты
Пароль будет выслан Вам по электронной почте.
Понедельник, 20 апреля, 2026
Регистрация / Авторизация
Поиск
Голографика
Новости дополненной и виртуальной реальности
Новости
Статьи
Темы
Дополненная реальность
Виртуальная реальность
Устройства
Софт
Разработка
Off topic
Игры
Видео / Аудио
Государство
Обучение и образование
Промышленность и производство
Бизнес
Медицина и здравоохранение
Инвестиции
Армия
Транспорт
Реклама
Работа
Как разместить вакансию/резюме
О сайте
Корпоративные закупки
More
Telegram
Twitter
VKontakte
Youtube
Домой
Теги
межзрачковое расстояние
Tag: межзрачковое расстояние
Новости
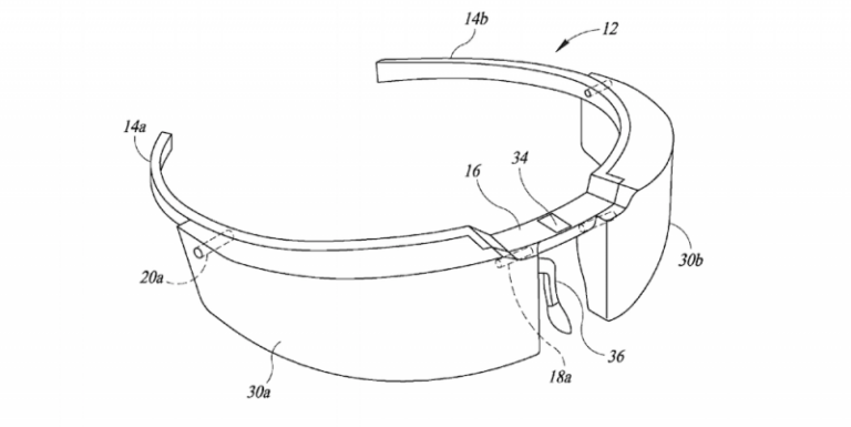
Apple хочет получить патент на автоматическую настройку оптики очков
Алексей Лисовицкий
-
03.03.2020
0
Новости
Oculus Quest будут показывать межзрачковое расстояние
Алексей Лисовицкий
-
25.10.2019
0
Новости
Разборка Valve Index показала двухкомпонентные линзы и дисплейный рассеиватель
Алексей Лисовицкий
-
30.08.2019
0
Новости
Rift S не подходят Палмеру Лаки из-за отсутствия аппаратной регулировки межзрачкового расстояния, и это не только его проблема
Алексей Лисовицкий
-
25.03.2019
0
Новости
Magic Leap получила патент на шлем с регулируемым межзрачковым расстоянием
Алексей Лисовицкий
-
25.10.2016
0